This paper mainly discusses a method of
sand making, which can effectively recover the fine powder produced in the production process, in order to maximize the utilization of resources.
In recent years, Sinonine has found that in view of the relationship between fine aggregate and concrete properties, excess by-product micro-powder (average particle size is more than 20-40 micron, 300 micron) produced in sand-making process does not have a special impact on concrete properties even when the micro-powder is mixed with fine aggregate, so it can be carried out. Recycling. The system divides the fine powder into coarse powder and fine powder and fine powder, returns the coarse powder to the sand making system for recovery, and collects the fine powder and fine powder.
The following is the schematic diagram of the
sand making system.

The
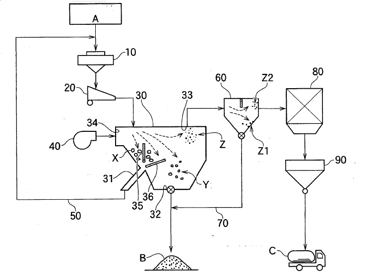
sand making system includes crusher(
sand making machine)10, which crushes crushing raw material A; transport device 20, which transports crushed materials; separation device 30, which separates crushed materials from crusher 10 into coarse particles X and fine particles Y and fine powder Z; air supply fan 40, which supplies wind power to separation 3 of the first sorting unit; dust collector 80, which attracts the first sorting assembly. The second sorting device 60, on the way of the first sorting device 30 and the dust collector 80, separates the fine powder Z into coarse powder Z1 and fine powder Z2. The reduction path 70 is used to mix the coarse powder Z1 sorted by the second sorting device with fine particle Y sorted by the first sorting device. The return route 50 recovers the coarse X in the first sorting device 30 and returns it to the crusher 10.
Details of the equipment of the sand making system are as follows:
1.Sand making machine 10

Using VSI impact sand machine, the material falls freely after crushing, and the sand rate is also guaranteed.
2.First sorting device 30
The crushed material is separated into coarse X and fine Y and fine Z by the first separating device. The first sorting device 30 is equipped with a return port 31, which is used to return coarse X particles to crusher 10 for re-breaking; collect the sand collecting port 32 to recover fine particles; collect the fine powder from suction port 33; and connect the air supply port 34 with the air supply fan 40. The dust collector 80 attracts and recovers the fine powder Z.
3.The second sorting device 60
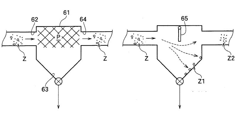
The second sorting device 60 is set on the dust collecting channel of the first sorting device 30 and the dust collector 80. Through the negative pressure generated by the dust collector 80, the fine powder Z attracted from the first sorting device 30 is sorted into coarse powder Z1 and fine powder Z2. The working system diagram of the device is shown below.

In the shell 61, a supply port 62 is formed, which is connected with the discharge path 33 of the first sorting device for obtaining the fine powder Z to the interior; the recovery port 63 recovers the coarse and fine powder Z1 sorted in the shell, and the recovery port 63 is connected with the reduction path 70, which is connected with the fine particle Y sorted through the first sorting device 30 mentioned above. The discharge outlet 64 is connected with the dust collector 80 and the fine powder Z2 is recovered.
Sand making processing
Crushing raw material A put into crusher 10 and coarse particle X returned through the above-mentioned separation device 30 are crushed. The crushed raw materials are naturally graded by the conveying device 20 with a vibration mechanism and then transported to the input port of the first separation device 30. When the crushed material transported to the input port of the first sorting device 30 falls, it bears the wind force from the air supply port 34 and blows along the transverse direction. For each kind of weight (particle size), it is separated along the transverse direction, and screening is assisted by adjusting plate 35 and screen 36 set in the middle. Through the above wind separation and screen separation, coarse X is recovered through the return port 31, fine Y is recovered through the sand collecting port 32, and fine Z is recovered from the suction port 33. The recovered powder Z is attracted from the first sorting device 30 and sent to the supply port 62 of the second sorting device 60. Although the micro-powder Z sent to the inner part of the second sorting device 60 is pulled into the 64 sides of the outlet through the attraction generated by the exhaust 64 connected with the dust collector 80, it is hindered by the adjustment plate 65 set on the way, and the micro-powder (coarse and fine powder Z1) with large weight (particle size) starts to fall due to gravity or falls as it is. Or the inner side wall of the guide housing, which is directed to the lower recovery port. The small powder (Z2) is attracted to the outlet 64 as it is, and is recycled to the storage tank 90 through the dust collector 80.
By adjusting the inclination angle of plate 65 and changing the shielding ratio (obstruction ratio), the separation particle size of coarse and fine powder Z1 and fine powder Z2 can be changed arbitrarily.
Application
The device is composed of sandstone as crushing material and particle size sorting. The following figure shows the particle size distribution of superfluous by-product fine powder C (the same as fine powder Z) stored in storage tank before the setting of the second sorting device 60.

For superfluous by-product micro-powder C, when the sieve is about 10 micron, the throughput increases. In order to further improve the overall eligibility of crushing raw materials, the micro-powder over 10 micron can be effectively utilized.
By changing the average size of coarse and fine powder Z1 and Z2 in the second separator 60, various data are obtained for each of the following average values as shown in the table below.

Based on the above results, it is obvious that when the value near the range of 40-75um is taken as the sorting particle size, the fine powder is sorted and added to the fine particles, the concrete properties will be well affected. Especially the micro-powder above 40 micron is coarse powder, the micro-powder smaller than 40 micron is fine, the qualified rate is increased by about 12% compared with the total abandonment. Thus, not only the performance of concrete can be improved, but also the redundant by-product micro-powder can be reduced (the qualified rate is improved).
Suggestion: Please make feasibility analysis based on raw materials and output, maximize the use of resources and improve economic efficiency.